基礎型枠メーカーの司コーポレーション(群馬県沼田市)は2月6日、住宅施工時の基礎工事をスピーディーかつ簡単に行う高性能な浮かし型枠「タイト・モールド」(特許取得済)を活用し、ベタ基礎とコンクリート一体化結合できる「アンカー基礎(地下空間施工)」の全国展開を開始すると発表した。
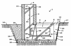
「アンカー基礎」は、地震の横滑りに着目し、水平方向への強い力に耐えるためのもの。基礎の下部に箱型の「出っ張り」を形成させ、出っ張り部分を船の“いかり”(=アンカー)に見立てて「アンカー基礎」と名付けた。「アンカー基礎」によるコンクリート一体化結合基礎を採用することにより、基礎の剛性と建物全体の耐震性を高めることが出来る。
また、「アンカー基礎」は床下を収納スペース等のプライベート空間に活用できるほか、施工に使われる大量のコンクリートをダイレクトゲインや地中熱など自然エネルギーの蓄熱体として利用できるなど複数のメリットを生み出す。施工コストは基礎と同時に出来上がることから、通常の地下空間施工の半分以下を目安とする。
同社は3月6日~9日に東京国際展示場で開催される第24回「建築・建材展2018」に出展予定。

アンカー基礎配筋
住宅ビジネスに関する情報は「新建ハウジング」で。試読・購読の申し込みはこちら。




![="高性能化と省力化を同時に実現 耐震等級3に適合する新基礎工法を開発 高性能化と省力化を同時に実現 耐震等級3に適合する新基礎工法を開発 -ピトン[東京都港区]](https://www.s-housing.jp/wp-content/uploads/2020/11/7men302.jpg)
























